/
/
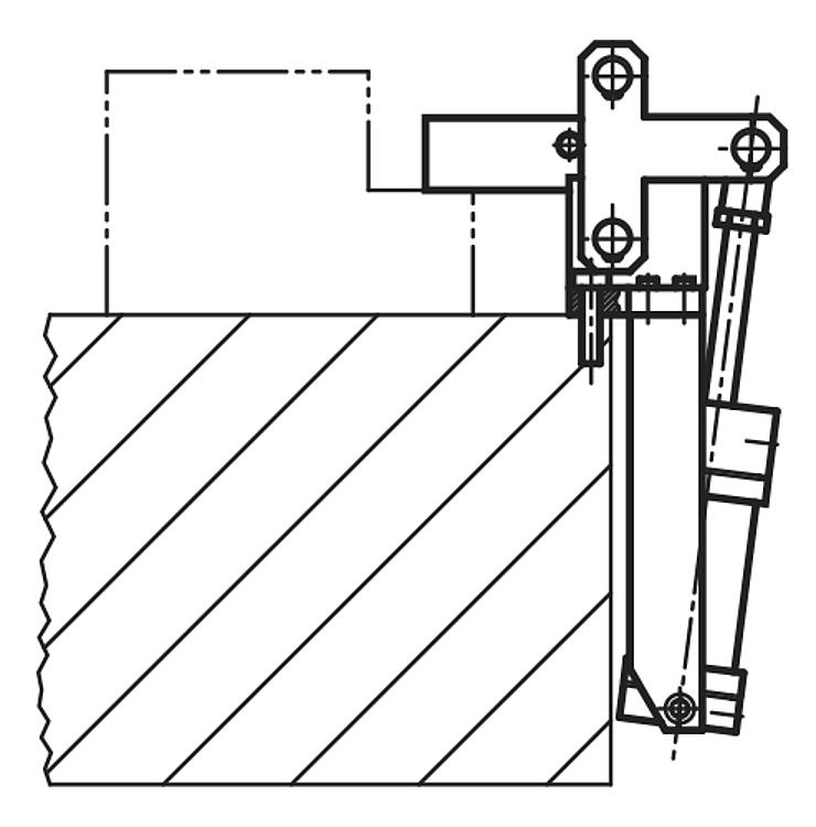
Dikey Silindir Eklentili Dikey Pnömatik Bağlama Elemanı

Dikey Silindir Eklentili Dikey Pnömatik Bağlama Elemanı

Malzeme:

Islah çeliği.

Model:perdahlı.

Bilgi:

05350 ve 05360 tipi bağlama elemanları özel makinelere ve aktarım sistemlerine monte edilmeleri için uygundur. Teflon yataklarda çalışan temperlenmiş ve taşlanmış yatak pimleri sayesinde bakım gerektirmemektedirler. Ağır hizmet tipi özelliği, çift etkili pnömatik silindir gibi uzun çalışma ömrü sağlamaktadır.
Aksların sabitleme cıvataları LOCTITE cıvata sabitleyici ile sabitlenmiştir.
Manyetik piston, elektrikli son konum geri bildirimi için kullanıma hazırdır.

VL = 6 bar basınçta çift strok başına hava tüketimi (dm³).

Bağlama ve tutma kuvvetleri:
Doğru bağlama elemanı boyutu seçimi kuvvetlere bağlıdır (bkz. tablo). F1 veya F2 tutma kuvveti ve F3 veya F4 bağlama kuvveti söz konusudur.

F3 ve F4 bağlama kuvveti, bağlama elemanının kapatılması sırasında sıkıştırma kolundan iş parçasına uygulanan kuvvettir.

F1 ve F2 tutma kuvveti, kapalı durumdaki sıkıştırma kolunda, iş parçasında meydana gelen işleme kuvvetlerine karşılık uygulanan ve deformasyona yol açmayacak şekilde sabit kalan kuvvettir. Tutma kuvveti, kapalı durumdaki bağlama elemanında geri bastırma sırasında kolun tam merkez noktası aşılması gerektiğinden dolayı bağlama kuvvetinden büyüktür.

Talep üzerine:

Silindirsiz bağlama elemanı.

Çizim bilgisi:

Y = Silindir stroku

Norelem Türkiye Distribütörü Hidkom Mühendislik'ten sipariş vermek için satis3@hidkom.com adresine mail atabilir veya 0 530 661 62 47 no'lu telefondan ulaşabilirsiniz.


Değerlendirmeler

Henüz değerlendirme yapılmadı.

“Dikey Silindir Eklentili Dikey Pnömatik Bağlama Elemanı” için yorum yapan ilk kişi siz olun

E-posta adresiniz yayınlanmayacak. Gerekli alanlar * ile işaretlenmişlerdir

Shopping Cart0

Sepet