/
/
Kama Gerdirici Perdahlı veya Tırtıllı Yüzeyleri

Kama Gerdirici Perdahlı veya Tırtıllı Yüzeyleri

Malzeme:

Çift kama ve germe segmentleri: Islah çeliği.

Model:

Çift kama ve germe segmentleri: Sertleştirilmiş, siyah.

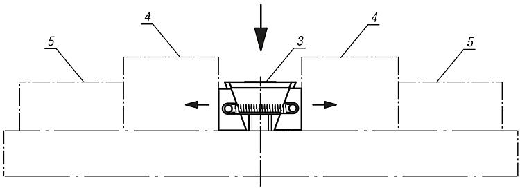
Bilgi:Kama gerdiriciler, çalışma prensipleri nedeniyle çoklu gerdirmeler için uygundur. Kama yüzeyleri sayesinde yüksek sıkıştırma kuvvetleri elde edilir.
Kama gerdiriciler isteğe bağlı olarak gerdirmek amacıyla bir dişli delikte veya bir T kanalında kullanılabilir. Gergi cıvatasının vidalanmasıyla iki germe segmenti dışa doğru hareket eder ve iş parçalarını işleme düzeneğinin sabit dayanak çenelerine doğru bastırırlar.
Çift kamaya açılmış olan uzun delik üzerinden kama gerdiriciler kaydırılabilir veya toleranslar dengelenebilir.

Kaydırma mesafesi:
M8 = ±0,5 mm
M10 = ±1,0 mm
M12 = ±1,0 mm
M16 = ±1,5 mmÇizim bilgisi:

D) Silindir başlı cıvata DIN 6912

1) Sıkıştırma yüzeyleri: Perdahlı
2) Sıkıştırma yüzeyleri: Tırtıllı
3) Kama gerdirici
4) İş parçası
5) Sabit dayanak

Norelem Türkiye Distribütörü Hidkom Mühendislik'ten sipariş vermek için satis3@hidkom.com adresine mail atabilir veya 0 530 661 62 47 no'lu telefondan ulaşabilirsiniz.


Değerlendirmeler

Henüz değerlendirme yapılmadı.

“Kama Gerdirici Perdahlı veya Tırtıllı Yüzeyleri” için yorum yapan ilk kişi siz olun

E-posta adresiniz yayınlanmayacak. Gerekli alanlar * ile işaretlenmişlerdir

Shopping Cart0

Sepet