/
/
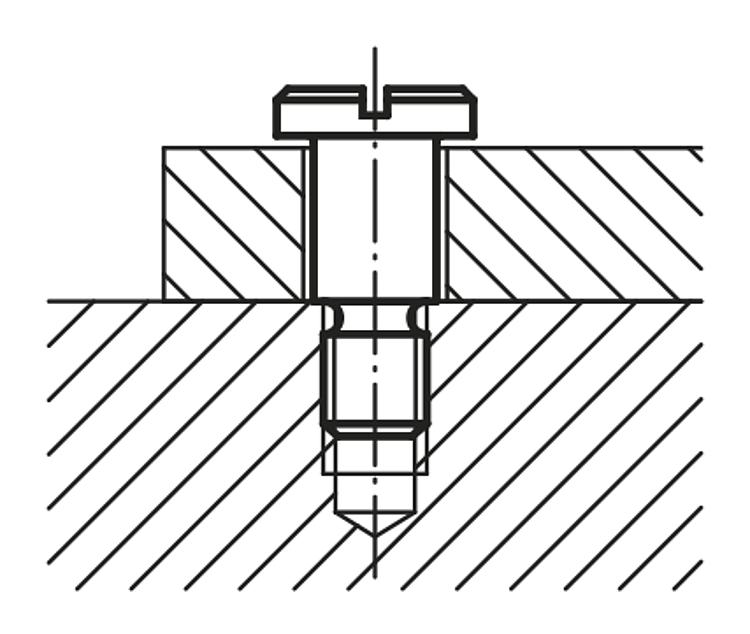
DIN 923 – Pimli (Omuzlu) Civata – Yarıklı Yay Ayar Civatası

DIN 923 – Pimli (Omuzlu) Civata – Yarıklı Yay Ayar Civatası

Pimli (Omuzlu) Civata – Yarıklı ve Mesnetli Yassı Başlı Yay Ayar Civatası DIN 923 – Shoulder Bolt

Malzeme: Çelik.

Model: Perdahlı, mukavemet sınıfı 5.8.

Bilgi: C tipi pullar (07520) için uygun.

İngilizce olarak Shoulder bolt, Türkçe olarak “pimli cıvata” olarak bilinen bu tür cıvatalar, farklı mekanik uygulamalarda yaygın olarak kullanılmaktadır. Shoulder bolt, standart bir vida veya cıvatadan farklıdır çünkü silindirik bir “omuz” kısmına sahiptir. Bu omuz kısmı, dişli kısmın hemen üzerinde yer alır ve genellikle dişli kısımdan daha geniştir. Omuz kısmının çapı ve uzunluğu, cıvatanın uygulama alanına göre değişiklik gösterebilir.

Kullanım Alanları
Shoulder bolt’lar, çeşitli endüstrilerde ve uygulamalarda yaygın olarak kullanılır:
– Makine ve Ekipman İmalatı: Hareketli parçaların doğru hizalanmasını ve sorunsuz çalışmasını sağlamak için.
– Kalıp ve Aparat Üretimi: Hassas parçaların yerleştirilmesi ve sabitlenmesi için.
– Otomotiv Endüstrisi: Süspansiyon sistemleri, motor parçaları ve diğer mekanik bileşenler için.
– Robotik ve Otomasyon: Hareketli kısımların bağlantı ve destek noktalarında.

Pimli cıvatalar genellikle paslanmaz çelik, karbon çeliği, alaşımlı çelik veya diğer dayanıklı malzemelerden üretilir. Kullanım alanına bağlı olarak sertleştirilmiş ve kaplanmış olabilirler.

Norelem Türkiye Distribütörü Hidkom Mühendislik'ten sipariş vermek için satis3@hidkom.com adresine mail atabilir veya 0 530 661 62 47 no'lu telefondan ulaşabilirsiniz.


Değerlendirmeler

Henüz değerlendirme yapılmadı.

“DIN 923 – Pimli (Omuzlu) Civata – Yarıklı Yay Ayar Civatası” için yorum yapan ilk kişi siz olun

E-posta adresiniz yayınlanmayacak. Gerekli alanlar * ile işaretlenmişlerdir

Shopping Cart0

Sepet