Açıklama
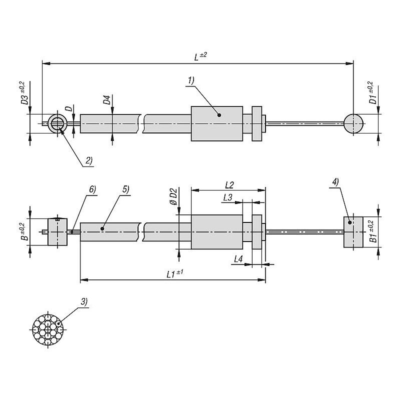
Malzeme:
Çelik halat, paslanmaz çelik.
Çekme kılıfı çelik tel, iç ve dış plastik kaplamalı.
POM kovan.
Nipel Zamak.
Vidalı nipel, çelik.
Bowden kablosu kılıfı ve kovan siyah.
Vidalı nipel, galvaniz kaplama.
Bowden kabloları çekme kuvvetinin aktarılması amacına hizmet eder ve tetikleyici ile kombine olarak uzaktan tetikleyici olarak kullanılır.
Bowden kablosunun çeşitli uzunluk versiyonları arasında seçim yapılabilmektedir. İlgili uygulamada ayar hassasiyetini sağlamak için Bowden kablosu montaj sırasında ilgili biçimde kısaltılabilir.
Bowden kablolarının montajında aşağıdaki noktalar dikkate alınmalıdır:
Serbest halat ucunun uzunluğu döşeme açısı, bükme yarıçapı ve yük faktörleri nedeniyle değişebilir.
Döşeme sırasında özellikle asgari bükme yarıçapının, bu durumda R = 65 mm, altına inilmemesine dikkat edilmelidir. Dar yarıçap yüksek aşınmaya ve yüksek sürtünmeye yol açabilir. Montaj sırasında kısa süreliğine de olsa asgari bükme yarıçapının altına inilmemelidir, aksi takdirde çekme kılıfında hasar meydana gelir. Kılıf ayrıca baskı kuvvetlerinin karşılanması için tasarlanmıştır. Çok fazla çekilirse iç taraftaki spiral esnetilir ve kalıcı hasar verilir.
Çekme mukavemeti maks. 1000 N.
Tetikleyici 05596 veya yaylı kilitler 05596-06.
Nipelli, çekme kılıflı, kovanlı ve vidalı nipelli çelik halat.
Burada bilgiler toplu halde PDF olarak sunulur:
CAD verileri mi arıyorsunuz? Bunları doğrudan ürün tablosunda bulabilirsiniz.
Bu ürünün adı aynı zamanda fren teli, gaz teli, debriyaj teli, kumanda kablosu, el freni teli, kaput açma teli, vites teli, çelik halatlı tel, kılıflı tel, mekanik kontrol teli gibi isimler olmaktadır.
Bu ürünün adı İngilizce olarak da Bowden cable, brake cable, throttle cable, control cable, clutch cable, push-pull cable, accelerator cable, outer casing cable, mechanical control cable, inner wire cable gibi isimler olmaktadır.
Teknikurunler.com sitesi bir Hidkom ürünü olmakla beraber Norelem markalı ürünlerin teknik destek ve satışını yapmaktadır.
WhatsApp us
Değerlendirmeler
Henüz değerlendirme yapılmadı.