/
/
Destek Pulları

Destek Pulları

Malzeme:

Çelik 1.0718.
Paslanmaz çelik 1.4305.
Model:Perdahlı çelik.
Kaplamasız paslanmaz çelik.

Bilgi:

Havşa başlı cıvatalar DIN EN ISO 2009 veya DIN EN ISO 10642, el çarkı pulları ile uygu kamalı el çarklarının ve krank kollarının eksenel tespitlenmesi ve sabitlenmesi için mil uçlarının alın yüzeylerine takılır.

El çarkı pulları, 06262, 06263, 06264, 06265, 06271, 06273, 06275, 06277, 06279, 06287, 06288 no.lu el çarklarında ve 06500, 06502 no.lu krank kollarında kullanılabilir.

Çelikten el çarkı pulları mıknatısların karşı parçaları olarak kullanılabilir.

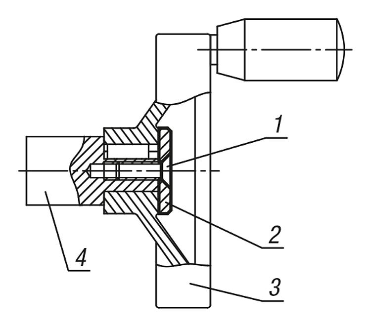
Çizim bilgisi:

D3 = havşa başlı cıvata ISO 2009 ve ISO 10642 için

1) Havşa başlı cıvata ISO 2009 ve ISO 10642
2) Ön pul
3) El çarkı
4) Mil

Norelem Türkiye Distribütörü Hidkom Mühendislik'ten sipariş vermek için satis3@hidkom.com adresine mail atabilir veya 0 530 661 62 47 no'lu telefondan ulaşabilirsiniz.


Değerlendirmeler

Henüz değerlendirme yapılmadı.

“Destek Pulları” için yorum yapan ilk kişi siz olun

E-posta adresiniz yayınlanmayacak. Gerekli alanlar * ile işaretlenmişlerdir

Shopping Cart0

Sepet